СНЯТИЕ И УСТАНОВКА ВПУСКНОЙ СИСТЕМЫ [L3 Turbo]


id0113b5800400

Предупреждение
•  Горячий двигатель и компоненты впускной системы могут причинить ожоги. Перед началом выполнения работ по снятию деталей системы впуска воздуха заглушите двигатель и подождите, пока они остынут.
•  Испарения топлива представляют большую опасность. Они могут легко воспламениться, причинив серьезные ожоги и травмы. Всегда держите источники искр и открытого пламени вдали от топлива.
•  Пролив и утечки топлива из топливной магистрали чрезвычайно опасны. Топливо может легко воспламениться, что представляет серьезную угрозу здоровью и жизни окружающих людей. Попадание топлива на кожу или в глаза может вызвать их раздражение и воспаление. Чтобы это не произошло, обязательно выполняйте требования раздела “Техника безопасности при работе с топливопроводами”. (См. МЕРЫ ПРЕДОСТОРОЖНОСТИ ПЕРЕД ПРОВЕДЕНИЕМ РЕМОНТА [L3 Turbo].)

1.  Снимите аккумуляторную батарею и площадку аккумуляторной батареи. (См. СНЯТИЕ И УСТАНОВКА АККУМУЛЯТОРНОЙ БАТАРЕИ [L3 Turbo].)

2.  Снимите защиту картера и боковой защитный кожух двигателя.

3.  Снимите компоненты в последовательности, указанной в таблице.

4.  Выполните установку в порядке, обратном снятию.

5.  Выполните мероприятия в соответствии с требованиями раздела “ПОСЛЕРЕМОНТНЫЕ МЕРОПРИЯТИЯ”. (См. ПОСЛЕРЕМОНТНЫЕ ПРОФИЛАКТИЧЕСКИЕ МЕРОПРИЯТИЯ [L3 Turbo].)

am3zzw00004586

1
Крышка впускной системы
2
Датчик массового расхода воздуха (MAF)/датчик температуры воздуха на впуске (IAT)
3
Крышка воздухоочистителя
4
Фильтрующий элемент воздухоочистителя
5
Кожух воздухоочистителя
6
Хомут
7
Приёмный воздуховод
8
Крышка радиатора промежуточного охлаждения воздуха
9
Радиатор промежуточного охлаждения воздуха
10
Клапан перепуска воздуха
11
Воздушный шланг
12
Воздушная труба
13
Корпус дроссельной заслонки
14
Вакуумный ресивер
15
Электровакуумный клапан вихреобразующей заслонки
16
Впускной коллектор
17
Электромагнитный клапан управления перепускным клапаном турбокомпрессора
18
Турбокомпрессор


Примечание к снятию воздухоочистителя

1.  Снимите показанную на рисунке резиновую вставку:

am3uuw00000519

(1)  Извлеките показанный на рисунке стопор.
am3uuw00000520
(2)  Сдвиньте резиновую вставку в направлении стрелки, одновременно вытягивая её вверх.
am3uuw00000521

2.  Снимите воздухоочиститель.

3.  Снимите хомут, показанный на рисунке.

am3zzw00003316


Примечание к снятию радиатора промежуточного охлаждения воздуха

1.  Снимите воздуховод радиатора промежуточного охлаждения воздуха.

am3zzw00003395

2.  Снимите крышку радиатора промежуточного охлаждения воздуха.

3.  Снимите радиатор промежуточного охлаждения воздуха.

4.  Снимите кронштейн радиатора промежуточного охлаждения воздуха.


Примечание к снятию воздушного шланга

1.  Отсоедините разъём выключателя вихреобразующей заслонки

2.  Отключите разъем проводного жгута топливных форсунок.

3.  Отсоедините шланг вентиляции от воздушного шланга впускной системы.

4.  Снимите воздушный шланг впускной системы.


Примечание к снятию воздушной трубы

1.  Отсоедините разъем электромагнитного клапана управления перепускным клапаном турбокомпрессора.

2.  Отсоедините разъем электромагнитного клапана продувки адсорбера.

3.  Отсоедините разъём от клапана EGR.

4.  Снимите воздушную трубу впускной системы.


Примечание к снятию корпуса дроссельной заслонки

1.  Отсоедините разъём от корпуса дроссельной заслонки.

2.  Перед снятием шланга системы охлаждения нужно слить из двигателя охлаждающую жидкость. (См. ЗАМЕНА ОХЛАЖДАЮЩЕЙ ЖИДКОСТИ [L3 Turbo].)

3.  Снимите корпус дроссельной заслонки.


Примечание к снятию впускного коллектора

1.  Снимите крышку топливной рампы.

acxuuw00000206

2.  Отсоедините от впускного коллектора быстродействующий разъём.

3.  Снимите трубку системы EGR.

4.  Отсоедините разъем электровакуумного клапана вихреобразующей заслонки.

5.  Снимите кожух масляного щупа. (См. СНЯТИЕ И УСТАНОВКА ПОДДОНА КАРТЕРА [L3 Turbo].)

6.  Снимите ремень привода навесных агрегатов. (См. СНЯТИЕ И УСТАНОВКА РЕМНЯ ПРИВОДА НАВЕСНЫХ АГРЕГАТОВ [L3 Turbo].)

7.  Отведите в сторону насос гидроусилителя рулевого управления.

8.  Отключите разъем проводного жгута датчика давления топлива.

9.  Отсоедините вакуумный шланг усилителя тормозной системы.

10.  Отсоедините разъём от датчика абсолютного давления (MAP).

11.  Отверните болты крепления впускного коллектора.

12.  Отсоедините впускного коллектора шланг, установленный между впускным коллектором и клапаном PCV.

13.  Снимите впускной коллектор.


Примечание к снятию турбокомпрессора

1.  Снимите трёхкомпонентный каталитический нейтрализатор (TWC). (См. СНЯТИЕ И УСТАНОВКА ВЫПУСКНОЙ СИСТЕМЫ [L3 Turbo].)

2.  Отсоедините задний датчик концентрации кислорода.

3.  Снимите верхний теплозащитный экран выпускного коллектора. (См. СНЯТИЕ И УСТАНОВКА ВЫПУСКНОЙ СИСТЕМЫ [L3 Turbo].)

4.  Отведите в сторону вентиляционный кожух генератора. (См. СНЯТИЕ И УСТАНОВКА ГЕНЕРАТОРА [L3 Turbo].)

5.  Снимите нижний теплозащитный экран выпускного коллектора. (См. СНЯТИЕ И УСТАНОВКА ВЫПУСКНОЙ СИСТЕМЫ [L3 Turbo].)

6.  Снимите верхний теплозащитный экран подогреваемого трёхкомпонентного нейтрализатора (WU-TWC). (См. СНЯТИЕ И УСТАНОВКА ВЫПУСКНОЙ СИСТЕМЫ [L3 Turbo].)

7.  Снимите передний датчик конецнтрации кислорода. (См. СНЯТИЕ И УСТАНОВКА ВЫПУСКНОЙ СИСТЕМЫ [L3 Turbo].)

8.  Снимите подогреваемый трёхкомпонентный каталитический нейтрализатор (WU-TWC). (См. СНЯТИЕ И УСТАНОВКА ВЫПУСКНОЙ СИСТЕМЫ [L3 Turbo].)

9.  Снимите масляную трубку, трубку системы охлаждения и теплозащитный экран.

am3zzw00004587

10.  Снимите турбокомпрессор.

am3uuw00000252


Примечание к установке турбокомпрессора

1.  Установите турбокомпрессор.

am3zzw00003494

Момент затяжки
38—51 Н·м {3,9—5,2 кгс·м, 29—37 фунт-сила·фут}

2.  Установите прогреваемый трёхкомпонентный каталитический нейтрализатор (WU-TWC). (См. СНЯТИЕ И УСТАНОВКА ВЫПУСКНОЙ СИСТЕМЫ [L3 Turbo].)

3.  Установите передний датчик концентрации кислорода. (См. СНЯТИЕ И УСТАНОВКА ВЫПУСКНОЙ СИСТЕМЫ [L3 Turbo].)

4.  Установите теплозащитный экран.

am3zzw00004588

5.  Установите трубку системы охлаждения, масляную трубку, затем наденьте шланг системы охлаждения до упора.

am3zzw00004589


Примечание к установке электромагнитного клапана управления перепускным клапаном

1.  Установите разъем электромагнитного клапана управления перепускным клапаном турбокомпрессора.

Момент затяжки
7,8—10,8 Н·м {80—110 кгс·см, 70—95 фунт-сила·дюйм}
am3zzw00003530

2.  Установите шланг, как показано на рисунке.


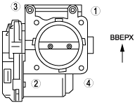
Примечание к установке корпуса дроссельной заслонки

1.  Затяните болты крепления корпуса дроссельной заслонки в указанной на рисунке последовательности.

Момент затяжки
8—11,5 Н·м {82—117 кгс·см, 71—101 фунт-сила·дюйм}
acxuuw00000284


Примечание к установке хомута

1.  При помощи хомута закрепите перегородку и кожух воздухоочистителя, как показано на рисунке.

am3uuw00000522